logo
Wersja dla niedowidzących
  
      
corner
Statystyki
Rejestr zmian
Mapa strony
Instrukcja biuletynu
Pliki do pobrania
corner
  
corner corner
corner corner
 JEDNOSTKI ORGANIZACYJNE
plus Jednostki budżetowe
plus Instytucje kultury
plus Zakłady budżetowe
plus Samodzielny Publiczny Zespół Opieki Zdrowotnej
minus Spółki akcyjne
   minus Bogatyńskie Wodociągi i Oczyszczalnia
      minus Status prawny
      minus Organy Spółki
      minus Struktura organizacyjna
      minus Majątek
      minus Przedmiot działalności
      minus Załatwianie spraw
      plus Przetargi i zamówienia
      minus Rejestry prowadzone przez Spółkę
      minus Dochody i straty.
      minus Kontrole
      plus Wnioski
      minus RODO
   plus Przedsiębiorstwo Energetyki Cieplnej Spółka Akcyjna
plus Spółki z o.o.
 TABLICA OGŁOSZEŃ 2023
A A A


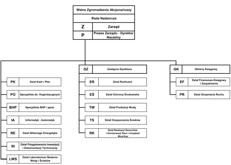
Organizację wewnętrzną funkcjonowania Spółki (strukturę organizacyjną) ustala Zarząd zgodnie z obowiązującymi przepisami, w sposób zabezpieczający jej prawidłowe funkcjonowanie. Odzwierciedleniem wewnętrznej organizacji jest Regulamin organizacyjny Spółki wraz ze schematem organizacyjnym (stanowiącym integralną część Regulaminu) ukazującym w sposób graficzny model struktury organizacyjnej z podziałem na:

  • piony,
  • komórki organizacyjne,
  • samodzielne stanowiska

i ustalający istniejące między nimi więzi organizacyjne.

Komórki organizacyjne zgrupowane są w Spółce w pionach:

Nazwa dokumentu: Struktura organizacyjna
Podmiot udostępniający: Bogatyńskie Wodociągi i Oczyszczalnia S.A.
Osoba, która wytworzyła informację: Zofia Janukowicz
Osoba, która odpowiada za treść: Roman Konopski - Prezes Zarządu
Osoba, która wprowadzała dane: Paweł Janik
Data wytworzenia informacji: 2005-06-23 10:34:39
Data udostępnienia informacji: 2005-06-23 10:34:39
Data ostatniej aktualizacji: 2019-06-05 08:53:35

Wersja do wydruku...

corner   corner